模具廠的實用新型專利-實例說明
2018-09-09 23:06:20
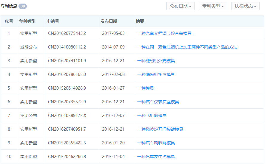
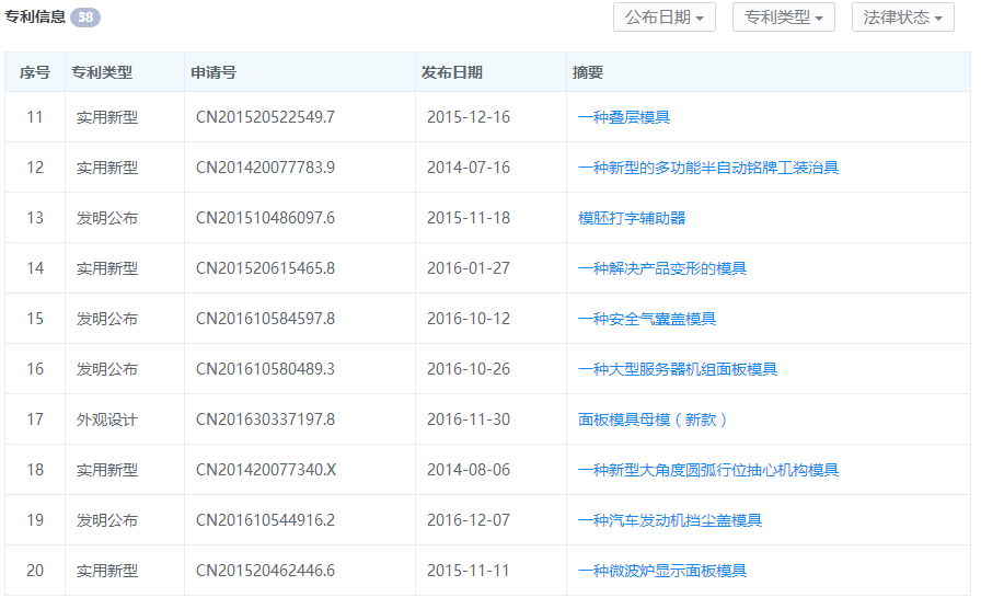
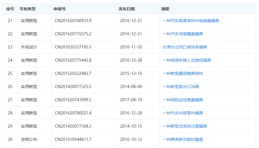
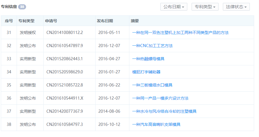
模具廠的實用新型專利, 可以申請哦, 不用按照軟著去做。 向其他模具廠學(xué)習(xí),方能提高。




----------------------------------------------------------------------------------------------------------------------------------------------------------

